PY90 series pneumatic on-off valves are the most effective response to water, air, oil and unexplosive gasses interception.
The construction flexibility of this valve allows a standard on-off use that can be normally closed, normally open or double effect.
The steady materials and the specifically selected gaskets guarantee an efficent operation even under critical conditions of valve opening/closing in very reduced times.
This valve can reach and normally operate at temperatures up to 180°C. This valve has reduced overall dimensions and a wide range of connections in order to meet the sepecific requirements of every single plant.
The large number of applications of this valve makes it an universal model. This is ensured by remarkable costruction details such as:
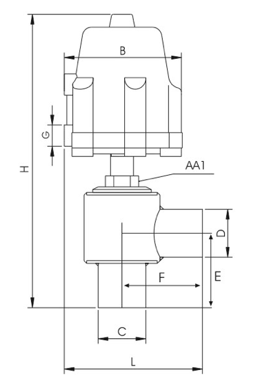
A. Normally Closed Feeding
B. Normally Open Feeding
C. Inflow
D. Outflow

| PY 90 DN15-50 VALVES | |
| 1) Media | Steam, Water, Air, Oil |
| 2) Nominal Pressure | PN40 |
| 3) Min. Working Temperature | -10°C |
| 4) Max. Working Temperature | +180°C |
| 5) Actuator Working Temperature | -10°C+100°C |
| 6) Pilot Entrance | Air |
| 7) Pilot Pressure | 4-6 Bar |
| Entrance Orifice Size | Piston Actuator | Medium Pressure | Pilot Pressure |
| DN15 | 50 | 14 | 4-6 |
| DN15 | 80 | 32 | 4-6 |
| DN20 | 50 | 14 | 5-6 |
| DN20 | 80 | 28 | 6-6 |
| DN25 | 50 | 6 | 7-6 |
| DN25 | 80 | 16 | 8-6 |
| DN32 | 50 | 4.5 | 9-6 |
| DN32 | 80 | 12 | 10-6 |
| DN32 | 100 | 20 | 11-6 |
| DN40 | 80 | 12 | 12-6 |
| DN40 | 100 | 18 | 13-6 |
| DN50 | 80 | 6 | 14-6 |
| DN50 | 100 | 10 | 15-6 |

| PY90 DN15-50 VALVES | ||||||||||||
| DN | Rp/Ntp | Piston Actuator | H | L | E | F | B | C | D | G | AA1 | kg |
| DN15 | 1/2" | 50 | 214 | 84 | 44 | 44 | 70 | 21.3 | 21.3 | G1/8" | 30 | 0.9 |
| DN15 | 1/2" | 80 | 245 | 113 | 44 | 44 | 110 | 21.3 | 21.3 | G1/4" | 30 | - |
| DN20 | 3/4" | 50 | 222 | 87 | 50 | 50 | 70 | 26.9 | 26.9 | G1/8" | 30 | 1.1 |
| DN20 | 3/4" | 80 | 254 | 113 | 50 | 50 | 110 | 26.9 | 26.9 | G1/4" | 30 | - |
| DN25 | 1" | 50 | 228 | 101 | 60 | 60 | 70 | 34.0 | 34.0 | G1/8" | 30 | - |
| DN25 | 1" | 80 | 259 | 114 | 60 | 60 | 110 | 34.0 | 34.0 | G1/4" | 30 | 1.3 |
| DN32 | 1.1/4" | 50 | 250 | 116 | 65 | 65 | 70 | 42.4 | 42.4 | G1/8" | 30 | - |
| DN32 | 1.1/4" | 80 | 280 | 124 | 65 | 65 | 110 | 42.4 | 42.4 | G1/4" | 30 | 2.6 |
| DN32 | 1.1/4" | 100 | 297 | 141 | 65 | 65 | 137 | 42.4 | 42.4 | G1/4" | 30 | - |
| DN40 | 1.1/2" | 80 | 293 | 138 | 75 | 75 | 110 | 48.3 | 48.3 | G1/4" | 30 | 2.7 |
| DN40 | 1.1/2" | 100 | 320 | 148 | 75 | 75 | 137 | 48.3 | 48.3 | G1/4" | 30 | - |
| DN50 | 2" | 80 | 318 | 143 | 85 | 85 | 110 | 60.3 | 60.3 | G1/4" | 30 | - |
| DN50 | 2" | 100 | 340 | 154 | 85 | 85 | 137 | 60.3 | 60.3 | G1/4" | 30 | 4.1 |